水泵是農村灌溉和排澇的重要機械。但由于農村的電力設施簡陋、水泵的工作環境較差,極易發生燒毀電機事故,實踐證明,通過使用自行設計的小型電器裝盆,對電機和水泵可起到安全保護作用?,F將該裝里的主要性能、結構原理及注意事項介紹如下:
一、主要性能
1.可防止電機單相運行。如刀閘保險絲一相熔斷引起的斷相,接觸器主觸頭接觸不好引起的斷相,電機電源線內部斷路引起的斷相,電機接線盒接觸不良引起的斷相等。
2.可防止水泵空轉.
二、主要結構與工作原理
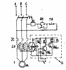
1.主要結構(見圖l)。該設備由接觸器JC、起動按鈕QA、停止按鈕TA、互感器LM、電子電路E、出水檢測探頭等組成.,

2.工作原理。合上閘刀開關DK,按動起動按鈕QA,文流接觸器線圈JC的一端接電該的C相,另一端經按鈕QA、TA與電稼A相構成回路.‘線圈Jc得電,接觸器吸合,電機M得電、運轉。同時由于電機電該線中有電流通過,在三個互感器LH中同時感應出電壓,此電壓按圖示接法進行矢t相加,對外輸出,電子打標。該電壓經D整流、C:祥波作為電子電路的電派。此刻電容Ct兩端電壓以零開始由電抓經Rt充電,并按指數規律上升,在未達到BG,的BE結導通電壓時舊G,截止,BG:導通,繼電器J得電吸.合,其觸點并接于QA,此時即使QA斷開也會由J的作用產生自保,使接觸器線圈JC繼續得電,電機維續旋轉。
隨著電機的不斷旋轉,ct兩端電壓不斷提高,當達到BG:的導通電壓時出G:導通、BG:截止,繼電器J釋放,接觸器線圈Jc失電.電機停轉,如果在兩端電壓未達到BG:導通之前,水泵出水管的水流沖擊“出水檢側探頭.,由于水的導電作用,Ct兩端的電壓不再上升,使決哈:不能導通,繼電器J保持吸合,水泵即可繼續工作一且在規定時間(2~3分鐘)抽不上水,電機自動停轉。
當出現斷相時,三個互感器只有兩個能感應出電壓,此電壓按田示接法進行矢t相加,互相抵消,電子電路失去電該,導致繼電器失電,觸點釋放,電機停轉。在正常運轉時,如果想停止運行.可按停止按鈕TA,出現故雌時,按起動按鈕QA可強行運轉,但停止按動電機立即停止轉動,不會產生.自俄現象”,有效地保護了電機。
三、注意事項
1.出水檢側探頭可自制(如圖2),安裝在出水口水能澆到的地方即可。

2.互感器LH可用漆包線穿繞在徽環上,三個互感器要一致。
四、主要特點
1.結構簡單,操作方便.
2.造價低,整個設備投資幾十元即可。
3.工作性能可攀,經久附用。